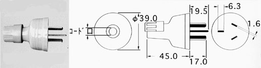
【 1512 】

1512 外観・サイズ

定格 250V 10A
Oタイプ 平形3ピンプラグ
コード口 φ6.8